Изпратете снимка на всички ваши стандартни и нестандартни решения.
masteradmin - майстор
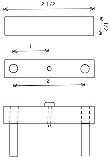
Ето просто приспособление за нанасяне на осева линия и за определяне точната среда на една
правоъгълна дъска.

Прикачен файл

withhand.jpg
withhand.jpg (58.72 KиБ) Видяна 5750 пъти

Прикачен файл

center gauge.jpg
center gauge.jpg (39.39 KиБ) Видяна 5750 пъти

Прикачен файл

gaugephoto.jpg
gaugephoto.jpg (34.95 KиБ) Видяна 5750 пъти
Миро Бореца
Ето едно също просто и много практично.
EEE ZEE MITER
Мими
Колко по лесно е да си разчертаем плота.

Прикачен файл

indexxx.jpg
indexxx.jpg (67.92 KиБ) Видяна 5743 пъти
masteradmin - майстор
Докато сме на дърводелска вълна ето ви един ограничител на хода на фрезата.

Прикачен файл

freza.jpg
freza.jpg (47.83 KиБ) Видяна 5739 пъти
masteradmin - майстор
Как се правят рамки

Прикачен файл

dhaiea.jpg
dhaiea.jpg (26.22 KиБ) Видяна 5736 пъти

Тема "Как да определяме лесни о бързо център." | Включи се в дискусията:


Сподели форума:

Бъди информиран. Следвай "Направи сам" във Facebook:

Намери изпълнител и вдъхновения за дома. Следвай MaistorPlus във Facebook: