И въобще се напълнихме с руски секретни високи технологии - с Галана се отопляваха в руските ядрени подводници, а този Стропова сигурно е топлел руската совалка Буран - измислили са го руснаците да издържа една седмица за да не се налага космонавтите да го презареждат по време на полет
Най - вълнуващия въпрос зимно време.
filmatoplo
- майстор
154 мнения в "Въпрос за котел "Стропова" за дълго горене ?"
LazarGanev
- "Велик майстор"
- Мнения: 15032
За странен котел - странни схеми, какво толкова
? А не е ли странно как се отопляват 400м2 + бойлер с щрангове 3/4"?
И въобще се напълнихме с руски секретни високи технологии - с Галана се отопляваха в руските ядрени подводници, а този Стропова сигурно е топлел руската совалка Буран - измислили са го руснаците да издържа една седмица за да не се налага космонавтите да го презареждат по време на полет
И въобще се напълнихме с руски секретни високи технологии - с Галана се отопляваха в руските ядрени подводници, а този Стропова сигурно е топлел руската совалка Буран - измислили са го руснаците да издържа една седмица за да не се налага космонавтите да го презареждат по време на полет
mrmagooo
- специалист
- Мнения: 82
От литва са бре
LazarGanev Също размерите не са задължително и ние с баща ми и двама топлотехници стояхме и гледахме и се пулихме след телефонен разговор с представителите казаха че не са задължителни но не трябвало да се пада под тях . Ако искаш нещо странно виж това http://www.termo-stropuva.com/%D0%B8%D0 ... i-ploshti/ Схемата им за отопление на големи площи ...Не знам но на мене тия смесителни тръби фи110 са ми много странни може и така да се прави попринцип ама аз сефте виждам (млад съм все пак )
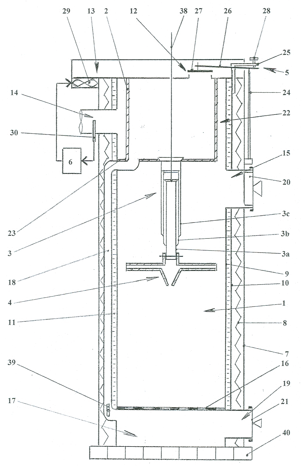
Иначе схемите верно са си мамата джасали ..най-простата тази която и ние ползваме при нея трипътния разделя котела +евентуалния бойлер в един кръг и радиаторите в друг при достигане на заданената температура .И при това положение котела загрява би-металната пластина се разширява и затваря отвора няма въздух горенето изчезва напълно като изстине започва пак ...
ЗА сега точно тая би-метална пластина прави проблема при нас или поне така мислим може и да е нещо друго . Практически пластината прави изместване в рамките на 2санта което за това което са я предназначили е добре .Но при нас ли котела бавно качва температура пластината ли не реагира достатъчно бързо системата ли изстива бързо не можем да разберем още затова съм решил като се прибера за празниците да направя един клип на едно пълно изгаряне на котела хем за наблюдение хем да покажа за какво става дума в реалния живот не по брошурите
Ако се окаже че е от пластината с баща ми ни се върти в главата побългаряване на котела като клапата да бъде задвижвана от механичен термостат монтиран на извода предвиден за вентила за налягането (дясната тръбичка )
http://sphotos-h.ak.fbcdn.net/hphotos-a ... 0697_n.jpg
или нещо такова по-сложно :
http://www.youtube.com/watch?v=1g3knVbcC_E
И докато гледах тоя клип си викам абе хората щом са го направили сигурно е там проблема ама първо ще се прави "наука "
Друг недостатък който ще се оправя са вратичките никаква изолация долната не е проблем ама горната е точно на ниво ръка и лесно можеш да се парнеш затова се обмисляме как да ги изолираме !
Иначе за сега както съм казвал няколко пъти най-голямо впечетление прави че затопля системата по-бързо с около 30тина минути по-бързо .Иначе ползата от продължителното неспиращо отопление на сградата се вижда веднага след първите две последователни паления ! За икономия на гориво ще мога да говоря с точно в края на сезона !
LazarGanev Също размерите не са задължително и ние с баща ми и двама топлотехници стояхме и гледахме и се пулихме след телефонен разговор с представителите казаха че не са задължителни но не трябвало да се пада под тях . Ако искаш нещо странно виж това http://www.termo-stropuva.com/%D0%B8%D0 ... i-ploshti/ Схемата им за отопление на големи площи ...Не знам но на мене тия смесителни тръби фи110 са ми много странни може и така да се прави попринцип ама аз сефте виждам (млад съм все пак )
Иначе схемите верно са си мамата джасали ..най-простата тази която и ние ползваме при нея трипътния разделя котела +евентуалния бойлер в един кръг и радиаторите в друг при достигане на заданената температура .И при това положение котела загрява би-металната пластина се разширява и затваря отвора няма въздух горенето изчезва напълно като изстине започва пак ...
ЗА сега точно тая би-метална пластина прави проблема при нас или поне така мислим може и да е нещо друго . Практически пластината прави изместване в рамките на 2санта което за това което са я предназначили е добре .Но при нас ли котела бавно качва температура пластината ли не реагира достатъчно бързо системата ли изстива бързо не можем да разберем още затова съм решил като се прибера за празниците да направя един клип на едно пълно изгаряне на котела хем за наблюдение хем да покажа за какво става дума в реалния живот не по брошурите
Ако се окаже че е от пластината с баща ми ни се върти в главата побългаряване на котела като клапата да бъде задвижвана от механичен термостат монтиран на извода предвиден за вентила за налягането (дясната тръбичка )
http://sphotos-h.ak.fbcdn.net/hphotos-a ... 0697_n.jpg
или нещо такова по-сложно :
http://www.youtube.com/watch?v=1g3knVbcC_E
И докато гледах тоя клип си викам абе хората щом са го направили сигурно е там проблема ама първо ще се прави "наука "
Друг недостатък който ще се оправя са вратичките никаква изолация долната не е проблем ама горната е точно на ниво ръка и лесно можеш да се парнеш затова се обмисляме как да ги изолираме !
Иначе за сега както съм казвал няколко пъти най-голямо впечетление прави че затопля системата по-бързо с около 30тина минути по-бързо .Иначе ползата от продължителното неспиращо отопление на сградата се вижда веднага след първите две последователни паления ! За икономия на гориво ще мога да говоря с точно в края на сезона !
filmatoplo
- майстор
- Мнения: 17842
mrmagooo
- специалист
- Мнения: 82
filmatoplo написа:http://www.youtube.com/watch?v=UxpgiN1Su4w-Тзи схема по бива .
Аз идеята за механичния термостат от тоя котел си я откраднах
А схемата до колкото гледам и разбирам/неразбирам не е ли същата само че е добавен термостат за помпата и тя самата е монтирана на байпас?
И също да попитат като стана дума за това въпросния термостат който оказва на помпата кога да работи и кога не и дебитомера не играят ли една и съща роля или бъркам?
filmatoplo
- майстор
- Мнения: 17842
По принцип -от скоростите на помпата се променя и дебита , термостата само я пуска и спира , ако скоростите са недостатъчни за точна регулировка се прибягва до спирателен кран -който регулира дебита , за целта трябва да има и уред дебитомер монтиран .
filmatoplo
- майстор
- Мнения: 17842
Не за друго спира помпата , но под 50 градуса ако остане да работи -ще охлади котела или бойлера -ако е с 1 помпа
.
Christo
- майстор
- Мнения: 1104
Много ми е смешно, когато прочета в някоя брошура, колко квадрата може да отоплява даден котел. Колко квадрата какво? Дали е оранжерия, къща с плътни тухли, тухли четворки, със или без изолация, брой и вид прозорци и още много други работи. Ами с какви въглища? Щото калоричността им е различна в пъти. Или тези, които са го писали нищо не разбират, или нас правят на балъци.
Тема "Въпрос за котел "Стропова" за дълго горене ?" | Включи се в дискусията:
Сподели форума:
Бъди информиран. Следвай "Направи сам" във Facebook:
Намери изпълнител и вдъхновения за дома. Следвай MaistorPlus във Facebook:
Имаш нужда от подходящ професионалист за дома?
- Преустройство, ремонт и реновиране
- ↳ Вашите ремонти
- ↳ Кухня
- ↳ Баня
- ↳ Дневна
- ↳ Спалня
- ↳ Детска
- ↳ Градина
- ↳ Коридор
- ↳ Тераса и балкон
- Направи сам
- ↳ Направи сам
- ↳ Ремонтирай сам
- ↳ Къде е по-евтино?
- ↳ Дърводелство
- ↳ Ел. инструменти
- ↳ Металообработване
- ↳ Конкурс "Направи сам 2012"
- Строителство
- ↳ Всичко за вилата
- ↳ Къщи
- ↳ Саниране
- ↳ Хидроизолация
- ↳ Пасивни и нискоенергийни сгради
- Сухо строителство
- ↳ Окачени тавани
- ↳ Преградни стени и предстенни обшивки
- ↳ Сухи и повдигнати подове
- ↳ Декоративни елементи - колони, трегери, сводове и др.
- ↳ Всичко за гипскартона и гипсфазера
- Въпроси и Отговори
- ↳ Полезни съвети
- ↳ Автомобили
- ↳ Партньори
- ↳ Боядисване и Декориране
- ↳ Вентилация, климатици и термопомпи
- ↳ Водоснабдяване и канализация.
- ↳ Всичко за ремонта
- ↳ Електротехника
- ↳ Отопление
- ↳ Газификация
- ↳ Електроника и Схеми
- ↳ Газобетон
- ↳ От всичко по малко
- ↳ Компютри и периферия
- ↳ Уеб дизайн, PHP, MySQL, JavaScript, HTML..
- ↳ Мобилни устройства, GSM-и
- ↳ Нека се запознаем
- ↳ Recycle Bin
- Статии
- ↳ Практични решения
- ↳ Качване на снимки
- ↳ Какви статии искате?
- ↳ Готварство, туршии и зимнина
- ↳ Отмора и шеги
- ↳ От нищо нещо
- ↳ Не е за вярване
- ↳ Литература
- ↳ Връзки към Интересни сайтове
- Магазин
- ↳ Препоръки и Мнения за он-лайн магазина
- ↳ Крадeни инструменти !!!

