Колеги, на вилата имам аларма, която сам си монтирах. Питането ми е: Мога ли към тази аларма да присъединя два датчика за пожароизвестяване, които да монтирам в помещенията с камини?

- 1
- 2
От мобилни телефони до цифрови камери
batkoradko
- специалист
13 мнения в "данчици за пожароизвестяване"
dyaneff
- майстор
- Мнения: 1052
Ето една статия да се образоваш. http://tech-dom.com/statii.aspx?id=1298
batkoradko
- специалист
- Мнения: 214
Извинете, но пропуснах да ви кажа, че имам някакви, но не знам какви са. Честно казано не очаквах, че има такава възможност. Предполагам, че не сработват като PIR датчиците. Но нека ги снимам пък ще мислим. Хубавото е, че има надежда. 
http://www.bg.all.biz/img/bg/catalog/105116.jpeg това е.
http://www.bg.all.biz/img/bg/catalog/105116.jpeg това е.
Nimi
- специалист
- Мнения: 332
Свързват като стандартни пожарни датчици по дву проводна линия. В централата се слага един токов детектор и стават като обикновена зона.
Трябва да имаш и бутон за ресет или да се използва някой от PGM-ите за ресетване ако има свободен и има възможност... щото не си уточнил каква точно е централата. А това май трябваше да е първото което да споделиш.
Пък вече и адресируеми ти предложиха
Трябва да имаш и бутон за ресет или да се използва някой от PGM-ите за ресетване ако има свободен и има възможност... щото не си уточнил каква точно е централата. А това май трябваше да е първото което да споделиш.
Пък вече и адресируеми ти предложиха
batkoradko
- специалист
- Мнения: 214
Централката ми е доста стара "Verits 8", а датчиците ще ги снимам като отида на вилата. Тази снимка я изрових от нета. 
batkoradko
- специалист
- Мнения: 214
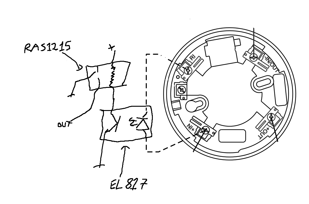
ето снимките на алармата и датчиците:
Прикачен файл
26ead3ae61841d5f823f2e9a89f96fb61d0b0ab93d45082048e6f0500cc46198.jpg (83.21 KиБ) Видяна 2687 пъти
Прикачен файл
e6f96442887124e20db56d34097a5ead0b15f7b145cd4a843d23021b4c557994.jpg (86.55 KиБ) Видяна 2687 пъти
- 1
- 2
Тема "данчици за пожароизвестяване" | Включи се в дискусията:
Сподели форума:
Бъди информиран. Следвай "Направи сам" във Facebook:
Намери изпълнител и вдъхновения за дома. Следвай MaistorPlus във Facebook:
Имаш нужда от подходящ професионалист за дома?
- Преустройство, ремонт и реновиране
- ↳ Вашите ремонти
- ↳ Кухня
- ↳ Баня
- ↳ Дневна
- ↳ Спалня
- ↳ Детска
- ↳ Градина
- ↳ Коридор
- ↳ Тераса и балкон
- Направи сам
- ↳ Направи сам
- ↳ Ремонтирай сам
- ↳ Къде е по-евтино?
- ↳ Дърводелство
- ↳ Ел. инструменти
- ↳ Металообработване
- ↳ Конкурс "Направи сам 2012"
- Строителство
- ↳ Всичко за вилата
- ↳ Къщи
- ↳ Саниране
- ↳ Хидроизолация
- ↳ Пасивни и нискоенергийни сгради
- Сухо строителство
- ↳ Окачени тавани
- ↳ Преградни стени и предстенни обшивки
- ↳ Сухи и повдигнати подове
- ↳ Декоративни елементи - колони, трегери, сводове и др.
- ↳ Всичко за гипскартона и гипсфазера
- Въпроси и Отговори
- ↳ Полезни съвети
- ↳ Автомобили
- ↳ Партньори
- ↳ Боядисване и Декориране
- ↳ Вентилация, климатици и термопомпи
- ↳ Водоснабдяване и канализация.
- ↳ Всичко за ремонта
- ↳ Електротехника
- ↳ Отопление
- ↳ Газификация
- ↳ Електроника и Схеми
- ↳ Газобетон
- ↳ От всичко по малко
- ↳ Компютри и периферия
- ↳ Уеб дизайн, PHP, MySQL, JavaScript, HTML..
- ↳ Мобилни устройства, GSM-и
- ↳ Нека се запознаем
- ↳ Recycle Bin
- Статии
- ↳ Практични решения
- ↳ Качване на снимки
- ↳ Какви статии искате?
- ↳ Готварство, туршии и зимнина
- ↳ Отмора и шеги
- ↳ От нищо нещо
- ↳ Не е за вярване
- ↳ Литература
- ↳ Връзки към Интересни сайтове
- Магазин
- ↳ Препоръки и Мнения за он-лайн магазина
- ↳ Крадeни инструменти !!!
